四十肩・五十肩(肩関節周囲炎)
四十肩・五十肩について
肩関節に炎症が起きている状態を「肩関節周囲炎」といいますが、その最も代表的なものが、いわゆる「五十肩」です。
50歳代の頃の発症が多いので、こう呼ばれますが、40代ぐらいからも起こり、60代でも起こります。
発症のメカニズムはっきりわかっていませんが、加齢や腕を使いすぎたりなどの疲労が重なり起こる場合が多いようです。
発症はある日突然というよりも、じわじわとだんだんおかしくなってくることのほうが多く、痛みが強くなると、夜も痛くて眠れない、頭も洗えない、衣服の脱ぎ着もできないなど日常生活に大きな支障をきたします。
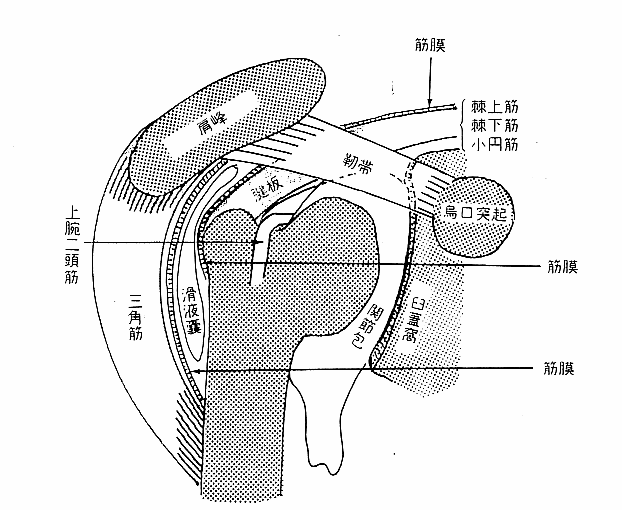
肩周囲が痛くなる病気として、ほかに、腱板炎、肩峰下滑液包炎、腱板損傷、上腕二頭筋長頭腱炎などがあり、これらも「肩関節周囲炎」です。五十肩と症状がまぎわらしいのですが、五十肩と診断されるには、これらの病気が否定され、症状が痛み→肩関節の運動制限と進んだ状態で五十肩と診断されます。五十肩の典型的な症状は、肩から肘にかけての痛みやしびれ、腕の動きが制限されるということです。
「ほおっておいても自然に治る」とも言われており、程度が軽いと自然に治る場合もあります。日常生活に支障がない程度であれば、あえて治療をせず、様子をみても構いません。不自由度が強い、痛みが強い方は治療したほうが早く治ります。
四十肩・五十肩の症状と治療
急性期
発症してからしばらくは痛みが一番強い時です。夜も寝られないほどの痛みが出たり、寝ていても手の置き所がないなど、とてもつらい時期です。四十肩、五十肩で一番治療を必要とするのは、この急性期で夜も寝られないなど日常生活に大きな支障がある場合です。
この時期の治療は、夜の痛みをとることを第一に行います。肩関節の動きが悪くなっている分、背中や肩、首の筋肉に負担がかかり、強い緊張が現れます。これら緊張をとってあげると、痛みがだいぶ改善します。早いと数日から数週間で夜の痛みはとれます。
この時期にあまり動かすと、炎症が進み、痛みが出やすくなります。アイロン体操などは避けたほうが予後がいいようです。夜痛くて腕の置き所がない時は、痛む肩の下に折りたたんだタオルを入れると痛みがやわらぐことがあります。あまり高すぎてもよくないので、いちばん楽な高さに調節して試してみてください 。
慢性期
痛みが落ち着いてきたら、少しずつ関節を動かす運動療法を取り入れながら治療します。この時期は拘縮期といって運動の制限が顕著に出てきます。五十肩の治療期間は、この拘縮をいかに最小限にとどめられるかにかかっています。しかし、あまり動かしすぎると痛みが出ますので、痛みを出さない範囲で効果的に運動療法を取り入れていくことがポイントです。アイロン体操などを自宅で始めるのはこの時期からがいいと思います
もうひとつ治療のポイントとして全体的な体のバランスを整えていくことが必要な場合もあります。肩の位置が左右平行になっていないと下がっているほうの肩は上がりにくくなってしまいます。試していただくとわかりますが、上がらないほうの肩を下げた状態で上げようとするとよけいに肩が上がりにくいことがわかります。肩だけにとらわれるのでなく、全体的な体のバランスを整えていくなかで肩の治療もあわせて行うとより効果があります。
五十肩の治療期間は早くても数ヶ月から長いと1年以上かかる場合もありますが、根気よく治療を続ければ必ず治る症状です。
急性期の強い痛み、動かした時の激痛などがとれてくると、動かしずらいなど不便はありますが、うまく付き合いながら生活できるようになります。時間はかかっても根気よく治していくのが慢性期です。










